製品情報PRODUCTS

カテゴリ検索
弁種Valves types
材質Valves materials
JIS F7370 (F7343)
Marine Bronze
20K Pressure Gauge Cocks
| Nominal Pressure | 20K | |
|---|---|---|
| Hydraulic Inspection |
Body | 3.0MPa |
| Seat | 2.2MPa | |
| No. | Item | Material | No. | Item | Material |
|---|---|---|---|---|---|
| 1 | Body | CAC406 | 9 | O-ring | JISB2401 |
| 2 | Plug | CAC406 | 10 | Union Nut For Nipple | C3604BD |
| 3 | Gland Nut | C3604BD | 11 | Nipple | C3604BD |
| 4 | Type 1/2 Union Nut | C3604BD | 12 | Type 3/8 Union Nut | C3604BD |
| 5 | Gland | C3604BD | 13 | Union Nut | C3604BD |
| 6 | Seet Ring | C3604BD | 14 | Sleeve | C3604BD |
| 7 | Gasket | C1100BD | - | - | - |
| 8 | Packing | JISF7102 | - | - | - |
JIS F7370 (F7381)
Marine Bronze
5K Flanged Cocks
| Nominal Pressure | 5K | |
|---|---|---|
| Hydraulic Inspection |
Body | 0.75MPa |
| Seat | 0.55MPa | |
| Type | Nominal | d | L | L1 | D | C | N | h | t | H | |
|---|---|---|---|---|---|---|---|---|---|---|---|
| Cocks | Press. | Dia | |||||||||
| 5K | 25A | 25 | 130 | 65 | 95 | 75 | 4 | 12 | 10 | 105 | |
| 32A | 32 | 160 | 80 | 115 | 90 | 4 | 15 | 12 | 125 | ||
| 40A | 40 | 170 | 85 | 120 | 95 | 4 | 15 | 12 | 135 | ||
| 50A | 50 | 190 | 95 | 130 | 105 | 4 | 15 | 14 | 163 | ||
| 65A | 65 | 220 | 110 | 155 | 130 | 4 | 15 | 14 | 201 | ||
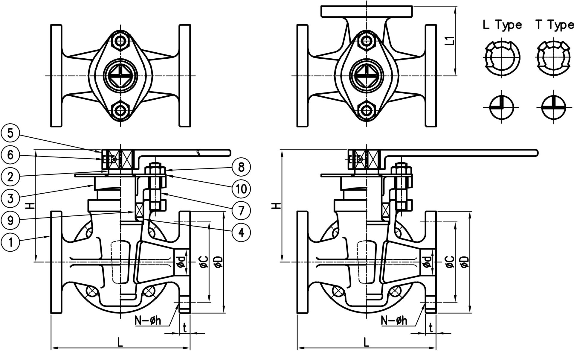
| No. | Item | Material | No. | Item | Material |
|---|---|---|---|---|---|
| 1 | Body | CAC406 | 9 | Packing | JISF7102 |
| 2 | Plug | CAC406 | 10 | Name Plate | C2801P |
| 3 | Packing Gland | CAC406 | - | - | - |
| 4 | Seat Ring | C3604BD | - | - | - |
| 5 | Handle | FC200 | - | - | - |
| 6 | Set Screw | SUS304 | - | - | - |
| 7 | Stud Bolt | C3771BD | - | - | - |
| 8 | Haxagon Nut | C3604BD | - | - | - |
JIS F7370 (F7387)
Marine Bronze
16K Cocks
| Nominal Pressure | 6 and 10 / 15 and 20 | |
|---|---|---|
| Hydraulic Inspection |
Body | 3.0MPa / 2.4MPa |
| Seat | 2.2MPa / 1.76MPa | |
| Type | Nominal |
Pipe Out Dia Copper |
Pipe Out Dia Steel |
d | L1 | L2 | d2 | K | H |
|---|---|---|---|---|---|---|---|---|---|
| Cocks Type S |
Dia | ||||||||
| 6 | 8・10 | 10.5 | 6 | 28 | 28 | M20×1.5 | 12 | 65 | |
| 10 | 15 | 17.3 | 10 | 40 | 35 | M24×2 | 16 | 73 | |
| 15 | 20 | 21.7 | 15 | 45 | 45 | M30×2 | 22 | 92 | |
| 20 | 25 | 27.2 | 20 | 50 | 50 | M36×2 | 24 | 104 |
| No. | Item | Material | No. | Item | Material |
| 1 | Body | CAC406 | 8 | Nipple(STP) | SS400 |
| 2A | Plug A | CAC406 | 9 | Union Nut | C3604BD |
| 2B | Plug B | CAC406 | 10 | Sleeve | C3604BD |
| 3 | Seat Ring | C3604BD | 11 | Packing | JISF7102 |
| 4 | Packing Gland | C3604BD | 12 | O-ring | JISB2401 |
| 5 | Gland Nut | C3604BD | - | - | - |
| 6 | Union Nut | C3604BD | - | - | - |
| 7 | Nipple(Cu) | C3604BD | - | - | - |
JIS F7370 (F7387)
Marine Bronze
16K Cocks
| Nominal Pressure | 6 and 10 / 15 and 20 | |
|---|---|---|
| Hydraulic Inspection |
Body | 3.0MPa / 2.4MPa |
| Seat | 2.2MPa / 1.76MPa | |
| Type | Nominal |
Pipe Out Dia Copper |
Pipe Out Dia Steel |
L | H |
|---|---|---|---|---|---|
| Cocks Type U |
Dia | ||||
| 6 | 8・10 | 10.5 | 56 | 65 | |
| 10 | 15 | 17.3 | 80 | 73 |
| No. | Item | Material | No. | Item | Material |
|---|---|---|---|---|---|
| 1 | Body | CAC406 | 8 | Nipple(STP) | SS400 |
| 2A | Plug A | CAC406 | 9 | Union Nut | C3604BD |
| 2B | Plug B | CAC406 | 10 | Sleeve | C3604BD |
| 3 | Seat Ring | C3604BD | 11 | Packing | JISF7102 |
| 4 | Packing Gland | C3604BD | 12 | O-ring | JISB2401 |
| 5 | Gland Nut | C3604BD | - | - | - |
| 6 | Union Nut | C3604BD | - | - | - |
| 7 | Nipple(Cu) | C3604BD | - | - | - |
JIS F7370 (F7390)
Marine Cocks
With Lock
| - | - | |
|---|---|---|
| Hydraulic Inspection |
Body | 0.20MPa |
| Seat | 0.20MPa | |
| Type | Nominal | d | d1 | L1 | L2 | d2 | K | H |
|---|---|---|---|---|---|---|---|---|
| Cocks With Lock |
Dia | |||||||
| 10 | 10 | 15 | 22 | 28 | M24×2 | 14 | 50 | |
| 15 | 15 | 20 | 28 | 37 | M30×2 | 18 | 63 | |
| 20 | 20 | 26 | 35 | 43 | M36×2 | 20 | 73 | |
| 25 | 25 | 32 | 43 | 52 | M42×2 | 22 | 87 |
| No. | Item | Material |
|---|---|---|
| 1 | Body | CAC406 |
| 2 | Cock Plug | CAC406 |
| 3 | Handle | CAC406 |
| 4 | Packing Nut | C3604BD |
| 5 | Packing Gland | C3604BD |
| 6 | Seat Ring | C3604BD |
| 7 | Hinge Pin | C3604BD |
| 8 | Packing | JISF7102 |
- 1











